2020年,B.Duck的相关公司森科公司以商标近似侵权为由,将温州小黄鸭品牌运营有限公司(简称“温州小黄鸭公司”)告上法庭。
法院一审判定:温州小黄鸭公司、青岛北屿大鱼服装有限公司(简称“大鱼公司”)于判决生效之日立即停止侵犯森科公司第8814488号“”注册商标专用权的行为。
另一方面,国家知识产权局商标局也在官网上公布了《关于第35073115号“G.duck”商标无效宣告请求裁定书》。
也就是说:因构成近似商标,B.Duck成功无效掉温州小黄鸭公司的一枚“G.duck”商标。
不得不说,这样的结果对G.duck来说,一点也不冤。
他们不仅在名字上跟B.Duck相似,它的相关产品也跟“B.Duck”风格统一。
乍一看,还以为二者是同一个品牌呢!
但对于B.Duck而言,这场维权路只是走了一小步。
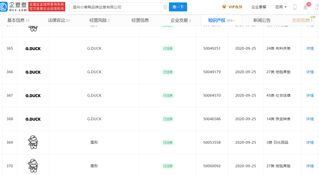
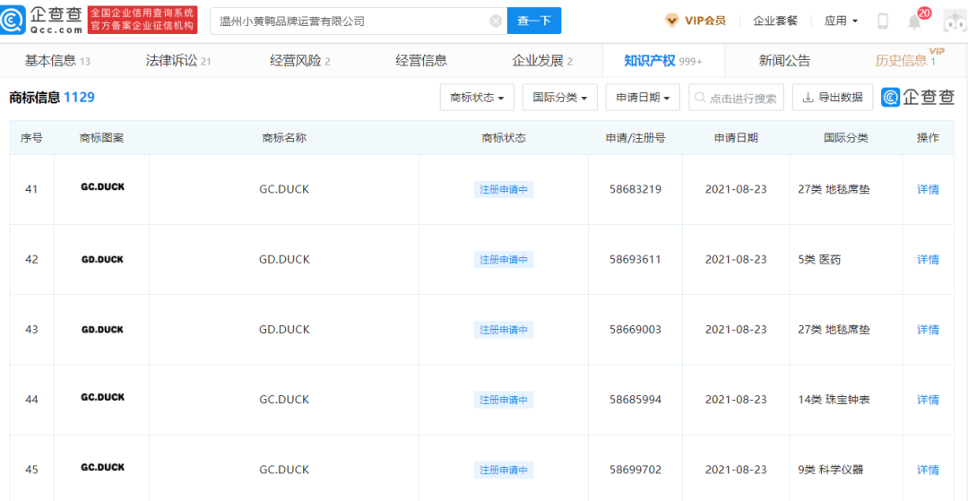
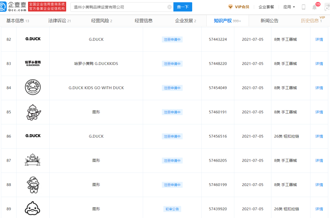
更令人惊讶的是,不少“G.duck”相关商标都已经成功注册。
“B.Duck”要是想对这些商标都进行无效,应该是个不小的工作量。
关键是,温州小黄鸭公司目前还在源源不断地申请“G.duck”相关商标。
这可真......(令人无语)

首页
电话咨询
联系方式